Skip to Content

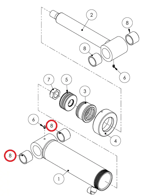
MCHG BUSHING 2.00 X 2.50 X 1.88 - Part No. GG2009

74.85

Specifications